欢迎您访问欢迎来到沄森网,沄森智能旗下资讯平台!今天是:2026年05月17日 星期日 农历:丙午(马)年-四月-初一
您现在的位置是:首页 > 头条

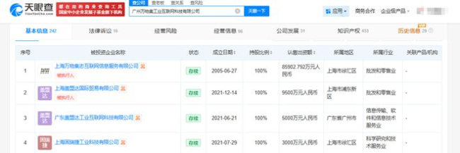
工业电商平台万物集总部人去楼空 供应商面临巨额欠款困境

沄森™2026-04-01
供应商任先生表示,他直到1月才停止向工业电商平台“我的万物集”供货,但仍有330多万元的货款未结清。4月初,多名供应商透露,“我的万物集”被曝“跑路”,总部已人去楼空,员工被集中遣散,供应商面临货款拖欠问题

供应商任先生表示,他直到1月才停止向工业电商平台“我的万物集”供货,但仍有330多万元的货款未结清。4月初,多名供应商透露,“我的万物集”被曝“跑路”,总部已人去楼空,员工被集中遣散,供应商面临货款拖欠问题。

工业电商平台万物集总部人去楼空

自去年10月起,部分供应商发现回款中断。当时,“我的万物集”称正在努力回款,并不定期支付一部分货款。出于对平台的信任,许多供应商选择继续履约。今年2月,一些供应商收到银行通知,得知已无授信额度,前往公司总部索要货款时,发现上海总部办公室已上锁,常熟仓库办公室也被贴上封条。

工业电商平台万物集总部人去楼空 供应商面临巨额欠款困境

目前多数供应商已选择报案或起诉。上海市公安局徐汇分局表示,相关案件仍在审查阶段。

工业电商平台万物集总部人去楼空 供应商面临巨额欠款困境

任先生与“我的万物集”合作多年,曾是其前身固安捷中国的员工。该平台主要提供手套等安防劳保类或工具类物料供应,服务企业客户。另一位供应商高女士与平台合作五年,主要提供货架采购服务。付款模式主要有两种:一种是“背靠背”,即供应商先付款,待客户回款后再支付;另一种是通过银行供应链金融模式支付。任先生和高女士采用的是供应链金融模式,但在今年2月,他们从银行得知“我的万物集”已无授信额度,无法付款。另一位供应商叶先生则采用“背靠背”模式,从去年12月起未收到货款。

所有文章未经授权禁止转载、摘编、复制或建立镜像,违规转载法律必究。

举报邮箱:1002263188@qq.com